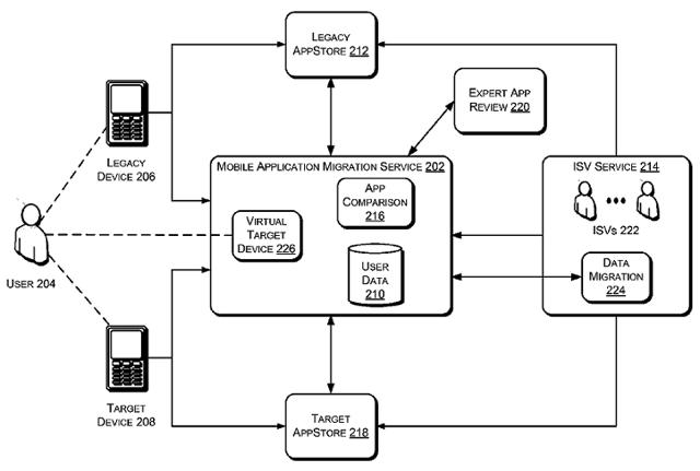
One of the drawbacks to changing mobile operating systems (i.e. iOS to Android, Android to Windows Phone, etc) is that some of the apps that you have gotten used to will not be available on the new platform. For example if you enjoyed playing Infinity Blade on iOS, moving onto Android or Windows Phone will no longer allow you to play the game (unless you still have your old phone around). While ports are currently being developed (like Instagram for Android), not all developers are willing to make the move. However it seems that Microsoft has come up with an interesting patent that should allow the transition between platforms to be a bit smoother.

This “app switcher” patent will basically scan your old smartphone for its apps, and will match it against Microsoft’s Windows Phone Marketplace. If it is available, users will be able to either download it for free or at a discounted rate from its developer. However if the app does not exist in the Marketplace, the patent mentioned that the system will instead offer users a close alternative. While it does sound like an interesting idea, we have to wonder how Microsoft will convince developers to hop aboard their plan. After all, with iOS and Android apps numbering in the hundreds of thousands, just how many can Microsoft convince? What do you guys think?

Filed in Cellphones. Read more about , and .